BTL Polska Sp. z o.o.
BTL Polska Sp. z o.o.
Adres: Leonidasa 49, 02-239 Warszawa
Telefon: 22 667 02 76
WWW: https://www.btlnet.pl/

Podgląd wizytówki
INTIMEX
INTIMEX sp. z o.o. sp. k.
Adres: Egejska 19/39, 02-764 Warszawa
Telefon: +48 22 6687465
WWW: https://intimex.com.pl/

Podgląd wizytówki
Mindray
Mindray Medical Poland
Adres: Cybernetyki 9, 02-677 Warszawa
Telefon: 22 463 80 80
WWW: www.mindray.com

Podgląd wizytówki
Dräger Polska
Dräger Polska Sp. z o.o.
Adres: Posag 7 Panien 1, 02-495 Warszawa
Telefon: 22 243 06 58
WWW: https://www.draeger.com/pl_pl/Home

Podgląd wizytówki
ENDOELEKTRONIK.PL SP. Z O.O. SP.K.
ENDOELEKTRONIK.PL SP. Z O.O. SP.K.
Adres: ul. Borkowa 12, 05-840 Brwinów
Telefon: 22 758 51 48
WWW: https://endoelektronik.pl/

Podgląd wizytówki
SONOSCAPE MEDICAL CORP.
SONOSCAPE MEDICAL CORP.
Adres: Guangming District, Guangdong, 518107 Shenzhen
Telefon: +48 784 894 276
WWW: www.sonoscape.com

Podgląd wizytówki
Intelimedical
Intelimedical Poland Sp. z o.o.
Adres: ul. Kasprowicza 4, 10-220 Olsztyn
Telefon: +48 22 599 42 23
WWW: https://intelimedical.pl/

Podgląd wizytówki

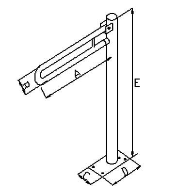
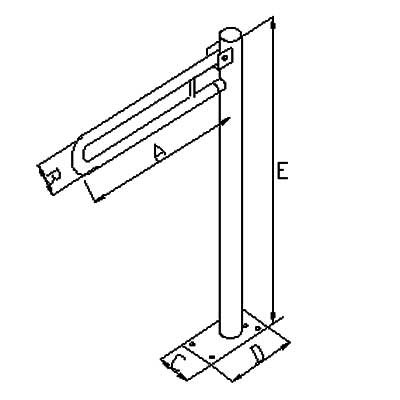
Corrado UUWCW fi 32 INOX


Corrado UUWCW fi 32 INOX

Uchwyt uchylny wolnostojący do WC Corrado fi 32 mm INOX

Uchwyty uchylne wolnostojące (nierdzewne fi 32 mm) występują również w wersji z zawieszką na papier toaletowy.

 

Oznaczenie Uchwytu      A [mm] / B [mm] / C [mm] / D [mm] / E [mm]
UUWCW - 6 INOX ø 32                     600 / 150 / 120 / 250 / 800 

Materiał obudowy (tworzywo sztuczne/metal): stal nierdzewna
Powłoka antypoślizgowa (tak/nie): Nie
Szerokość (mm): 150;
Długość (mm): 600;
Wysokość (mm): 800;
Mocowanie (ścienny, wolnostojący): wolnostojący
Brak akcesoriów
Brak materiałów dodatkowych

Nie wybrano pliku
Maksymalny rozmiar załącznika to 10MB.
Pole zgody na przetwarzanie danych osobowych jest wymagane.
Blumed
91-357 Łódź, Osadnicza 34
Telefon: 509 617 264
E-mail: Wyślij wiadomość
Przedstawiciel:
Marcin Niedźwiecki
1 produkt w ofercie
Oferta Wyślij zapytanie
CEZAL Wrocław
50-543 Wrocław, ul. Widna 4
Telefon: 71/ 367 85 52
E-mail: Wyślij wiadomość
Przedstawiciel:
Elżbieta Cisło
1 produkt w ofercie
Oferta Wyślij zapytanie
Corradomed
25-825 Kielce, Dobromyśl 5
Telefon: 41 346 47 73
E-mail: Wyślij wiadomość
Przedstawiciel:
Marcin Długosz
1 produkt w ofercie
Oferta Wyślij zapytanie
KREDOS
10-693 Olsztyn, Popiełuszki 15
Telefon: 89 679 02 42
E-mail: Wyślij wiadomość
Przedstawiciel:
Zbigniew Kadzewicz
1 produkt w ofercie
Oferta Wyślij zapytanie
PPHU "Specjał"
35-105 Rzeszów, ul. Boya Żeleńskiego 5
Telefon: 603 606 821
E-mail: Wyślij wiadomość
Przedstawiciel:
Mateusz Płaziak
1 produkt w ofercie
Oferta Wyślij zapytanie
KREDOS
10-693 Olsztyn
Popiełuszki 15
Telefon: 89 679 02 42
E-mail: Wyślij wiadomość
Przedstawiciel:
Zbigniew Kadzewicz
Serwisowani producenci (5): Corrado, Reha Fund, Vermeiren, B/D, INNOW
Nieautoryzowany serwis