BTL Polska Sp. z o.o.
BTL Polska Sp. z o.o.
Adres: Leonidasa 49, 02-239 Warszawa
Telefon: 22 667 02 76
WWW: https://www.btlnet.pl/

Podgląd wizytówki
INTIMEX
INTIMEX sp. z o.o. sp. k.
Adres: Egejska 19/39, 02-764 Warszawa
Telefon: +48 22 6687465
WWW: https://intimex.com.pl/

Podgląd wizytówki
Mindray
Mindray Medical Poland
Adres: Cybernetyki 9, 02-677 Warszawa
Telefon: 22 463 80 80
WWW: www.mindray.com

Podgląd wizytówki
Dräger Polska
Dräger Polska Sp. z o.o.
Adres: Posag 7 Panien 1, 02-495 Warszawa
Telefon: 22 243 06 58
WWW: https://www.draeger.com/pl_pl/Home

Podgląd wizytówki
ENDOELEKTRONIK.PL SP. Z O.O. SP.K.
ENDOELEKTRONIK.PL SP. Z O.O. SP.K.
Adres: ul. Borkowa 12, 05-840 Brwinów
Telefon: 22 758 51 48
WWW: https://endoelektronik.pl/

Podgląd wizytówki
SONOSCAPE MEDICAL CORP.
SONOSCAPE MEDICAL CORP.
Adres: Guangming District, Guangdong, 518107 Shenzhen
Telefon: +48 784 894 276
WWW: www.sonoscape.com

Podgląd wizytówki
Intelimedical
Intelimedical Poland Sp. z o.o.
Adres: ul. Kasprowicza 4, 10-220 Olsztyn
Telefon: +48 22 599 42 23
WWW: https://intelimedical.pl/

Podgląd wizytówki

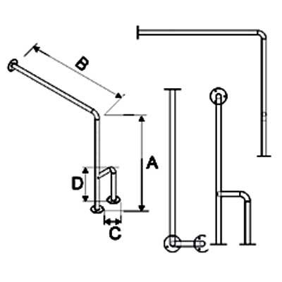
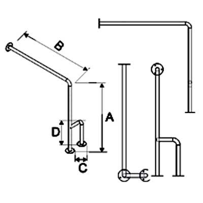
Corrado UWC ściana-podłoga


Corrado UWC ściana-podłoga

UWC INOX ø 25 - Uchwyty do WC - (ściana-podłoga) lewe/prawe

Stal nierdzewna fi 25 mm - różne rozmiary

Oznaczenie Uchwytu A [mm] B [mm] C [mm] D [mm]
UWCL - 7 INOX ø 25 700 700 200 300
UWCP - 7 INOX ø 25 700 700 200 300
UWCL - 8 INOX ø 25 800 800 200 300
UWCP - 8 INOX ø 25 800 800 200 300

Uchwyt do WC Corrado montowany do ściany i podłogi fi 25 mm

Uchwyt dostępny w wariatach stali nierdzewnej lub malowany proszkowo w kolorze białym

Oznaczenie Uchwytu A [mm] B [mm] C [mm] D [mm]
UWCL - 7 700 700 200 300
UWCP - 7 700 700 200 300
UWCL - 8 800 800 200 300
UWCP - 8 800 800 200 300

UWC ø 32 - Uchwyty do WC - (ściana-podłoga) lewe/prawe

Malowane proszkowo fi 32 mm - różne rozmiary

Oznaczenie Uchwytu A [mm] B [mm] C [mm] D [mm]
UWCL - 7 ø 32 700 700 200 300
UWCP - 7 ø 32 700 700 200 300
UWCL - 8 ø 32 800 800 200 300
UWCP - 8 ø 32 800 800 200 300

UWC M ø 32 - Uchwyty do WC - (ściana-podłoga) lewe/prawe

Malowane proszkowo z maskownicami fi 32 mm - różne rozmiary

Oznaczenie Uchwytu A [mm] B [mm] C [mm] D [mm]
UWCL - 7 M ø 32 700 700 200 300
UWCP - 7 M ø 32 700 700 200 300
UWCL - 8 M ø 32 800 800 200 300
UWCP - 8 M ø 32 800 800 200 300

UWC INOX ø 32 - Uchwyty do WC - (ściana-podłoga) lewe/prawe

Stal nierdzewna fi 32 mm

Oznaczenie Uchwytu A [mm] B [mm] C [mm] D [mm]
UWCL-8/7,5 INOX ø 32 800 750 200 300
UWCP-8/7,5 INOX ø 32 800 750 200 300

 

Mocowanie (ścienne, podłogowe): podłogowe ścienne
Średnica (mm): 25; 32;
Materiał (tworzywo sztuczne, metal): metal
Brak akcesoriów
Brak materiałów dodatkowych

Nie wybrano pliku
Maksymalny rozmiar załącznika to 10MB.
Pole zgody na przetwarzanie danych osobowych jest wymagane.
Blumed
91-357 Łódź, Osadnicza 34
Telefon: 509 617 264
E-mail: Wyślij wiadomość
Przedstawiciel:
Marcin Niedźwiecki
1 produkt w ofercie
Oferta Wyślij zapytanie
CEZAL Wrocław
50-543 Wrocław, ul. Widna 4
Telefon: 71/ 367 85 52
E-mail: Wyślij wiadomość
Przedstawiciel:
Elżbieta Cisło
1 produkt w ofercie
Oferta Wyślij zapytanie
Corradomed
25-825 Kielce, Dobromyśl 5
Telefon: 41 346 47 73
E-mail: Wyślij wiadomość
Przedstawiciel:
Marcin Długosz
1 produkt w ofercie
Oferta Wyślij zapytanie
KREDOS
10-693 Olsztyn, Popiełuszki 15
Telefon: 89 679 02 42
E-mail: Wyślij wiadomość
Przedstawiciel:
Zbigniew Kadzewicz
1 produkt w ofercie
Oferta Wyślij zapytanie
PPHU "Specjał"
35-105 Rzeszów, ul. Boya Żeleńskiego 5
Telefon: 603 606 821
E-mail: Wyślij wiadomość
Przedstawiciel:
Mateusz Płaziak
1 produkt w ofercie
Oferta Wyślij zapytanie
KREDOS
10-693 Olsztyn
Popiełuszki 15
Telefon: 89 679 02 42
E-mail: Wyślij wiadomość
Przedstawiciel:
Zbigniew Kadzewicz
Serwisowani producenci (4): Corrado, B/D, Vermeiren, INNOW
Nieautoryzowany serwis