BTL Polska Sp. z o.o.
BTL Polska Sp. z o.o.
Adres: Leonidasa 49, 02-239 Warszawa
Telefon: 22 667 02 76
WWW: https://www.btlnet.pl/

Podgląd wizytówki
INTIMEX
INTIMEX sp. z o.o. sp. k.
Adres: Egejska 19/39, 02-764 Warszawa
Telefon: +48 22 6687465
WWW: https://intimex.com.pl/

Podgląd wizytówki
Mindray
Mindray Medical Poland
Adres: Cybernetyki 9, 02-677 Warszawa
Telefon: 22 463 80 80
WWW: www.mindray.com

Podgląd wizytówki
Dräger Polska
Dräger Polska Sp. z o.o.
Adres: Posag 7 Panien 1, 02-495 Warszawa
Telefon: 22 243 06 58
WWW: https://www.draeger.com/pl_pl/Home

Podgląd wizytówki
ENDOELEKTRONIK.PL SP. Z O.O. SP.K.
ENDOELEKTRONIK.PL SP. Z O.O. SP.K.
Adres: ul. Borkowa 12, 05-840 Brwinów
Telefon: 22 758 51 48
WWW: https://endoelektronik.pl/

Podgląd wizytówki
SONOSCAPE MEDICAL CORP.
SONOSCAPE MEDICAL CORP.
Adres: Guangming District, Guangdong, 518107 Shenzhen
Telefon: +48 784 894 276
WWW: www.sonoscape.com

Podgląd wizytówki
Intelimedical
Intelimedical Poland Sp. z o.o.
Adres: ul. Kasprowicza 4, 10-220 Olsztyn
Telefon: +48 22 599 42 23
WWW: https://intelimedical.pl/

Podgląd wizytówki

FAMED ŁÓDŹ IGNIS 160


FAMED ŁÓDŹ IGNIS 160

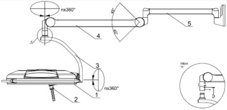
Lampa Operacyjna  IGNIS 160

IGNIS 160 charakteryzuje się lekką, zwartą konstrukcją w kształcie koła. Kopuła wykonana z aluminium malowanego proszkowo ze szkłem bezpiecznym w dolnej części. Dwa uchwyty – sterylny uchwyt zapewnia możliwość ustawiania ostrości plamy świetlnej oraz umożliwia włączenie lampy przy jego poruszaniu. Niesterylny uchwyt otaczają kopułę na długości większej niż 75 % jej obwodu, co niezależny zapewnia dostęp i czyni bardzo łatwych ustawianie położenia. Budowa gwarantuje łatwość i czyszczenia. Dzięki niewielkiej ilości elementów zewnętrznych jest dobrze zabezpieczona przed zalaniem cieczą i kurzem. Unikalne rozwiązanie wbudowania dwóch paneli sterujących przeciwlegle na kopule zapewnia dobry dostęp niezależnie od umiejscowienia operatora.

Dodatkowo panele umożliwiają sterowanie nie tylko parametrami światła, ale tylko parametrami obrazu (z wyposażeniem w kamerę rozdzielczości pełnej rozdzielczości full HD). Lampa IGNIS 160 jest wyposażona w opcje świecenia światłem zielony do przeprowadzania procedur endoskopowych.

Dzięki doświadczeniu zdobytemu przez ponad 80 lat istnienia potrafiliśmy wyposażyć lampę w wiele innowacyjnych funkcji, m.in. dodatkowego oświetlenia pola chirurgicznego, skutecznie działającej nawet w  przypadkach najgłębszych pól operacyjnych.

Parametry:

Typ oprawy

IGNIS 160

Napięcie zasilania

100-240V AC

Natężenie oświetlenia w odległości 1m (Ec)

160 000 lux

Zakres regulacji natężenia światła

25÷100%

Wskaźnik oddawania barw Ra

96

Wskaźnik oddawania barwy czerwonej R9

92

Temperatura barwowa

4000-4800K

Średnica pola roboczego d10

26 cm

Średnica plamy d50

14 cm

Regulowana średnica pola roboczego

tak

Przyrost temperatury w okolicy głowy chirurga

< 1°C

Wgłębność oświetlenia 60% L1+L2

69 cm

Wgłębność oświetlenia 20% L1+L2

146 cm

Pobór mocy oprawy lampę

55 W

Klasa ochrony przed porażeniem elektrycznym

I

Stopień ochrony obudowy

IP 54

 

Rodzaj lampy (do wyboru: diodowa, halogenowa, wyładowcza): diodowa
Współczynnik oddawania barw (Ra): 96;
Temperatura barwowa (K): 4000; 4400; 4800;
Natężenie oświetlenia (Lux): 160000;
Brak akcesoriów
Brak materiałów dodatkowych

Nie wybrano pliku
Maksymalny rozmiar załącznika to 10MB.
Pole zgody na przetwarzanie danych osobowych jest wymagane.
Famed Łódź S.A.
93-231 Łódź, Dostawcza 3D
Telefon: 605592783
E-mail: Wyślij wiadomość
Przedstawiciel:
Anna Kaczmarek
1 produkt w ofercie
Oferta Wyślij zapytanie
Novamed
91-203 Łódź, Traktorowa 143
Telefon: 42 714 36 00
E-mail: Wyślij wiadomość
Przedstawiciel:
b/d
1 produkt w ofercie
Oferta Wyślij zapytanie
SKLEP DLA LEKARZA
60-163 Poznań, Junikowska 64
Telefon: 61 670 31 96
E-mail: Wyślij wiadomość
Przedstawiciel:
Piotr Wojciechowski
1 produkt w ofercie
Oferta Wyślij zapytanie
Famed Łódź S.A.
93-231 Łódź
Dostawcza 3D
Telefon: 605592783
E-mail: Wyślij wiadomość
Przedstawiciel:
Anna Kaczmarek
Serwisowani producenci (1): FAMED ŁÓDŹ
Autoryzowany serwis
MEDICA
25-368 Kielce
Głowackiego 7/8
Telefon: 41 343-23-96
E-mail: Wyślij wiadomość
Przedstawiciel:
Tadeusz Pochwała
Serwisowani producenci (1): FAMED ŁÓDŹ
Autoryzowany serwis
Tiemed
60-474 Poznań
Czorsztyńska 30
Telefon: 537 853 461
E-mail: Wyślij wiadomość
Przedstawiciel:
Bartosz Łakomy
Serwisowani producenci (1): FAMED ŁÓDŹ
Autoryzowany serwis
EnTech Bartosz Barut
95-100 Zgierz
Dzika 14
Telefon: 519-344-819
E-mail: Wyślij wiadomość
Przedstawiciel:
Bartosz Barut
Nieautoryzowany serwis
GŁOWACKI-VET
92-701 Bukowiec
ul. Akacjowa 8
Telefon: 42 639 85 00
E-mail: Wyślij wiadomość
Przedstawiciel:
b/d
Serwisowani producenci (2): FAMED ŁÓDŹ, Dr. Mach Light Systems
Nieautoryzowany serwis
KREDOS
10-693 Olsztyn
Popiełuszki 15
Telefon: 89 679 02 42
E-mail: Wyślij wiadomość
Przedstawiciel:
Zbigniew Kadzewicz
Nieautoryzowany serwis
SKLEP DLA LEKARZA
60-163 Poznań
Junikowska 64
Telefon: 61 670 31 96
E-mail: Wyślij wiadomość
Przedstawiciel:
Piotr Wojciechowski
Nieautoryzowany serwis